c24

MATERIAŁ KONSTRUKCYJNY 45×195 C24 ŚWIERK SKANDYNAWSKI

Opis produktu:

Surowiec: świerk skandynawski

Wilgotność: 16-18 +- 2% (ogólnobudowlana)

Inne: materiał certyfikowany wytrzymałościowo C24

przeeekroj

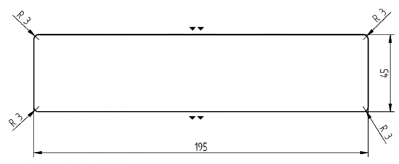
Dane techniczne

Przekrój [mm]45 × 195
Szerokość krycia [mm]195
Gatunek drewnaświerk
Jakośćc24
Dostępne długości [m]3-6 m
Pakowanie

1 szt.